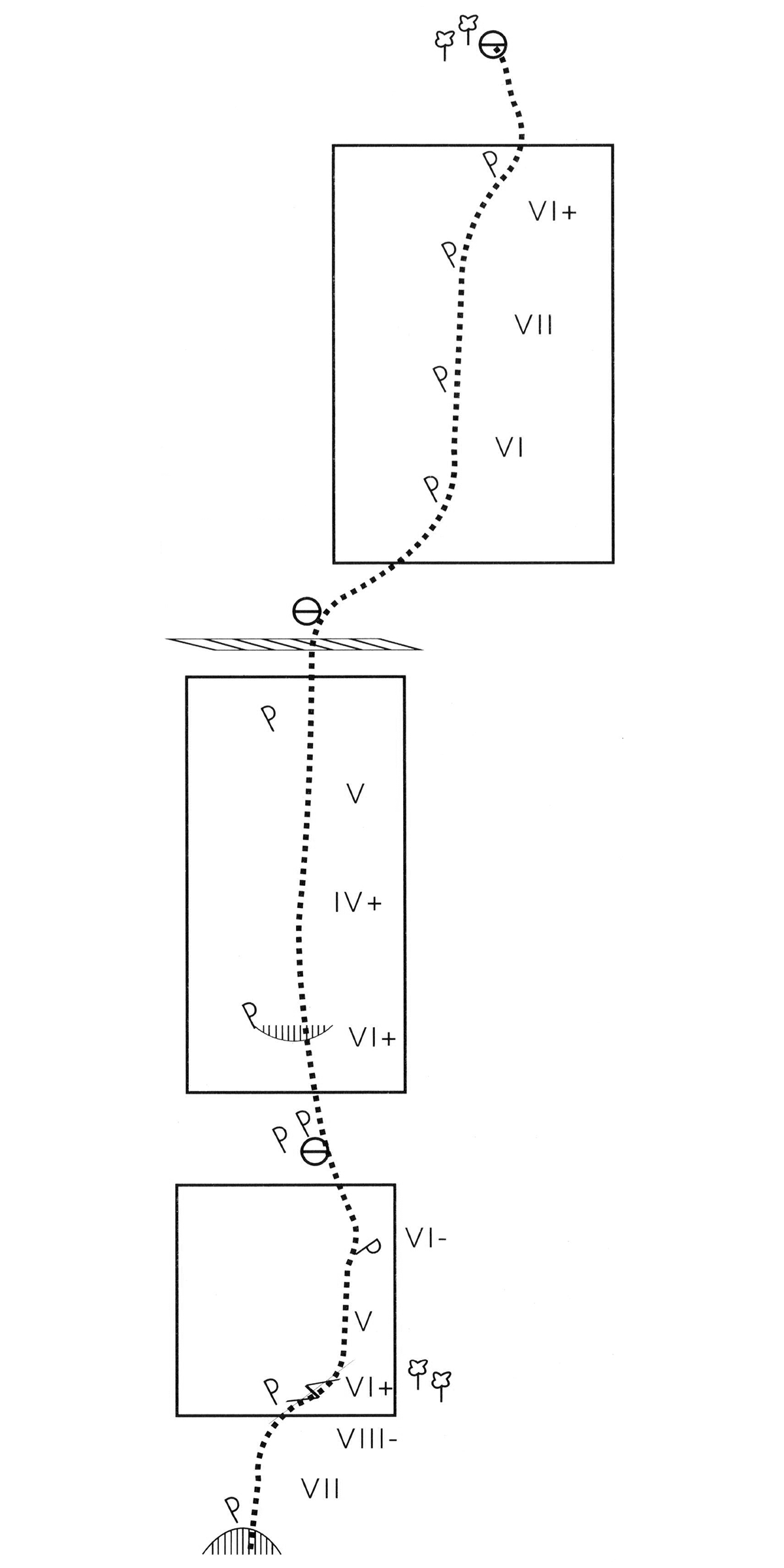
The first ascent of the route “Trident” (VIII-, 65m) was realized on 17/10/1993 by K. Vakondios - S. Sotiriadis.
Irakleitsa - Remvi
Trident
Source: A. Tsilogeorgis
Photographs:
Translation: Routes.gr
Editing: Routes.gr
Published: 2017-12-31
Modified: 2026-02-04
