The first ascent of the route “Sorry, not sorry” (VI+, 100m) was realized on 6/8/2022 by D. Giounis - I. Vellas.
The line is a very nice little alpine route with the exposed 2nd pitch looking like a sport climb.
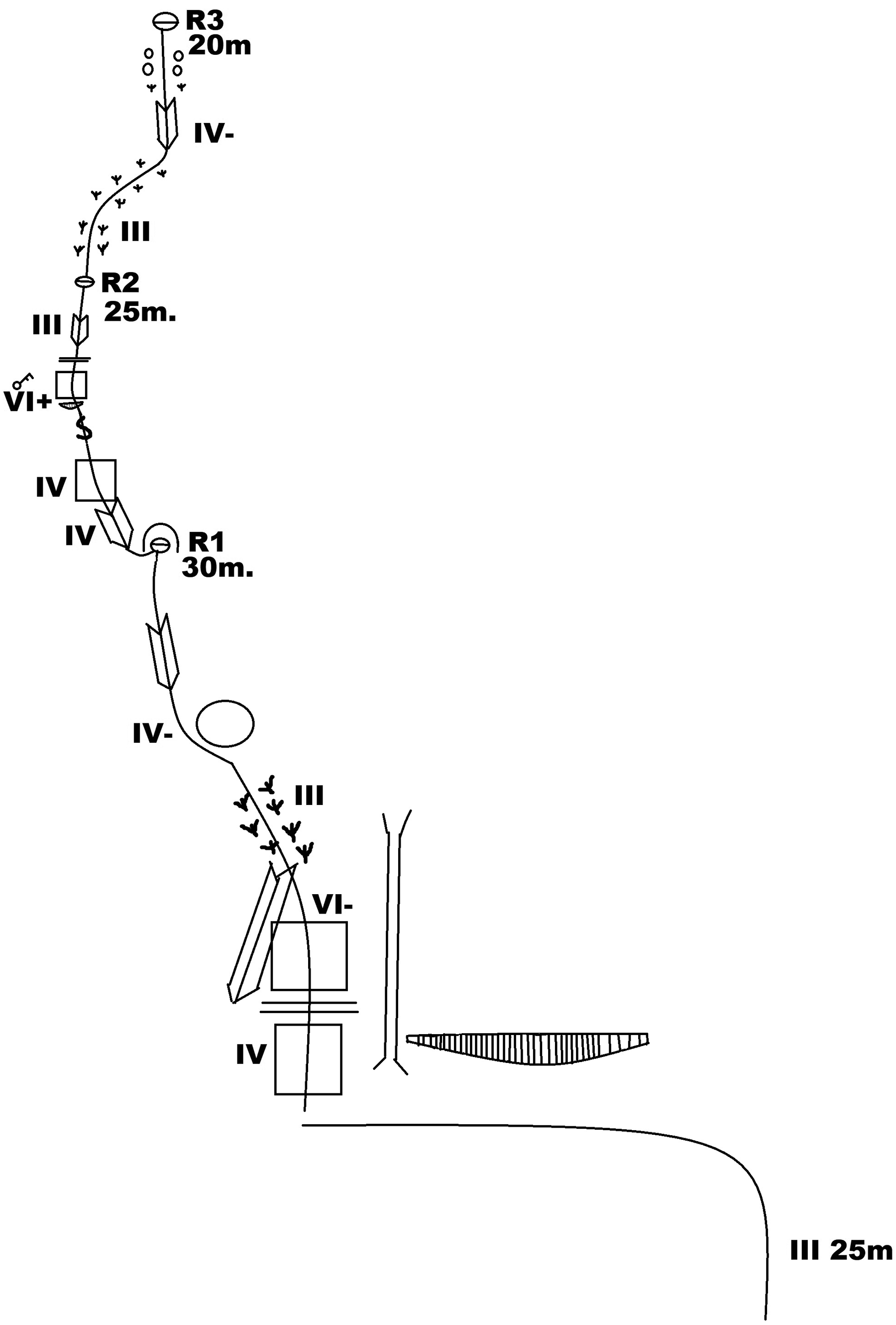
To climb the route, a small access with an easy pass is required to reach the start of the 1st pitch (R0).
The 1st pitch starts from a smooth slab (IV) which leads to a ledge where the difficult passage begins. There we find a smooth slab with good grips (VI-), which on the left has a crack (which takes good cams). The crack opens wide at the end of the slab and ends up becoming a grassy dihedral. Then we enter an easy field with small cedars, to make an easy but very exposed traverse that can’t be protected and exit to an easy dihedral. After the dihedral we end up in a small cave where we do a belay with natural protection gear.
The 2nd pitch starts a few meters to the left of the cave, in a not so solid dihedral. After the dihedral, we come out on a slab with a crack on the right and we move slightly to the left to come out on the difficult passage. There we will find a negative with handfuls, very exposed, with a small hidden hold. The rock looks bare of grips but has just what it needs. Then we go out to a dihedral with cedars and end up in good position for the belay.
The 3rd pitch is very easy and we choose the easiest way to the top where we setup our belay.
From there, with a little descent, we end up above the big boulder before the beginning of the “Asanser”, about 100m lower than the “Miniskos”, so we reach the path to the refuge.
The access to the beginning of the route is from the shelter, traversing the slope towards the west and after reaching the large boulder at the beginning of the “Asanser” we go down and enter directly at the base of the first rope. Alternatively, one can start the access from the last tap (“Trafos” water source at 1525m elevation). The route can be combined with “Asanser” and “Miniskos” located in the same area.
