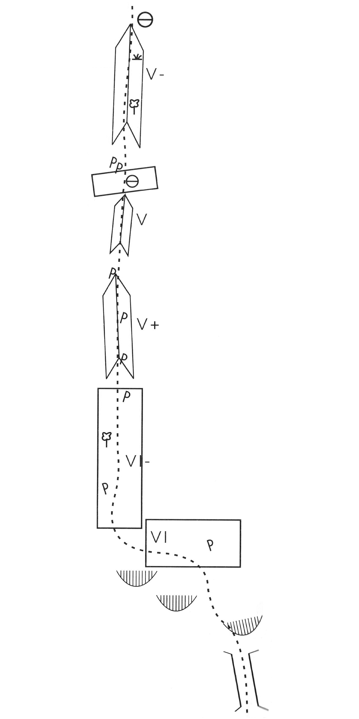
The first ascent of the route “Rappelling ridge” (VI, 45m) was realized on 29/7/1992 by A. Tsilogeorgis - Th. Chatzisyrlis - K. Siozos.
Irakleitsa - Remvi
Rappelling ridge
Source: A. Tsilogeorgis
Photographs:
Translation: Routes.gr
Editing: Routes.gr
Published: 2017-12-31
Modified: 2026-02-04
