The first ascent of the route "Miniskos" (VI+, 160m) was realized on 17/8/1984 by D. Bountolas - H. Ananiadis.
The route moves in the center of the face of a tower that beetles from the crag, and it follows characteristic line formed by cracks.
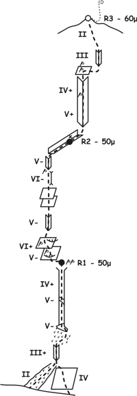
The 1st pitch starts from a mossy ramp (II) that leads to the base of an easy dihedral. Alternatively, the pitch may start from a slab (IV) which is found to the right of the ramp and also leads to the base of the same dihedral. This dihedral goes up a mossy leaning ledge, from where begins a chimney. There are two points, one at the beginning of the chimney and one somewhere in the middle, where some wedged rocks will make climbing a bit harder. The belay is built at the exit of the chimney, on two pitons.
The 2nd pitch is the hardest one and it starts with a left traverse (V-, 2m) under a small overhang. This overhang is equipped with one piton and it is rather easy to surpass. On top of it and to the left, there is one more piton. This is the crux of the route (VI+), demanding good balance and friction climbing, while during the first ascent this passage was aid climbed (A1). The pitch continues toward a dihedral (V-) after which it reaches a slab where there is a wedged nut with sling. After passing the slab, the pitch goes on with a shoulder crack (VI-), which is easily surpassed if the good step to the right is used, while it is also equipped with a piton at its exit. Next, there is a dihedral (V-) and after that, with direction up and right, the pitch moves on a mossy ramp, which cannot be protected, until the bolted belay.
The 3rd pitch continues for a bit on the aforementioned mossy ramp, until the base of dihedral, which it follows up to its exit. This dihedral, apart from a passage (V+) at the beginning, is generally rather easy, while it is equipped with 1 piton somewhere in the middle and 2 pitons at the exit. After the exit, the pitch continues with a right traverse to a small ledge and meets an easy dihedral (III), after which follows an easy field (II) till the top of the tower. The belay is built on natural pro. If the ropes are 50m, the belay must be set a bit after the exit of the dihedral, about 10m before the peak.
The quality of the rock is very good as there are no loose parts at all, while route finding is really simple.
In order to repeat this climb, a set of nuts and a set of friends are required.
Getting to the route from the refuge involves traversing almost horizontally the mountain slope, which takes about 15min.
To return from the end of the route, descend for a bit behind the peak of the tower and then go up on the slope, till a big mossy leaning ledge, which, with direction to the right, leads in 5min to a big gully with lots of scree at the bottom. Early in the summer you might find a lot of snow in that gully. From its base, a traverse to the right on the slope leads to the refuge in 10min.
