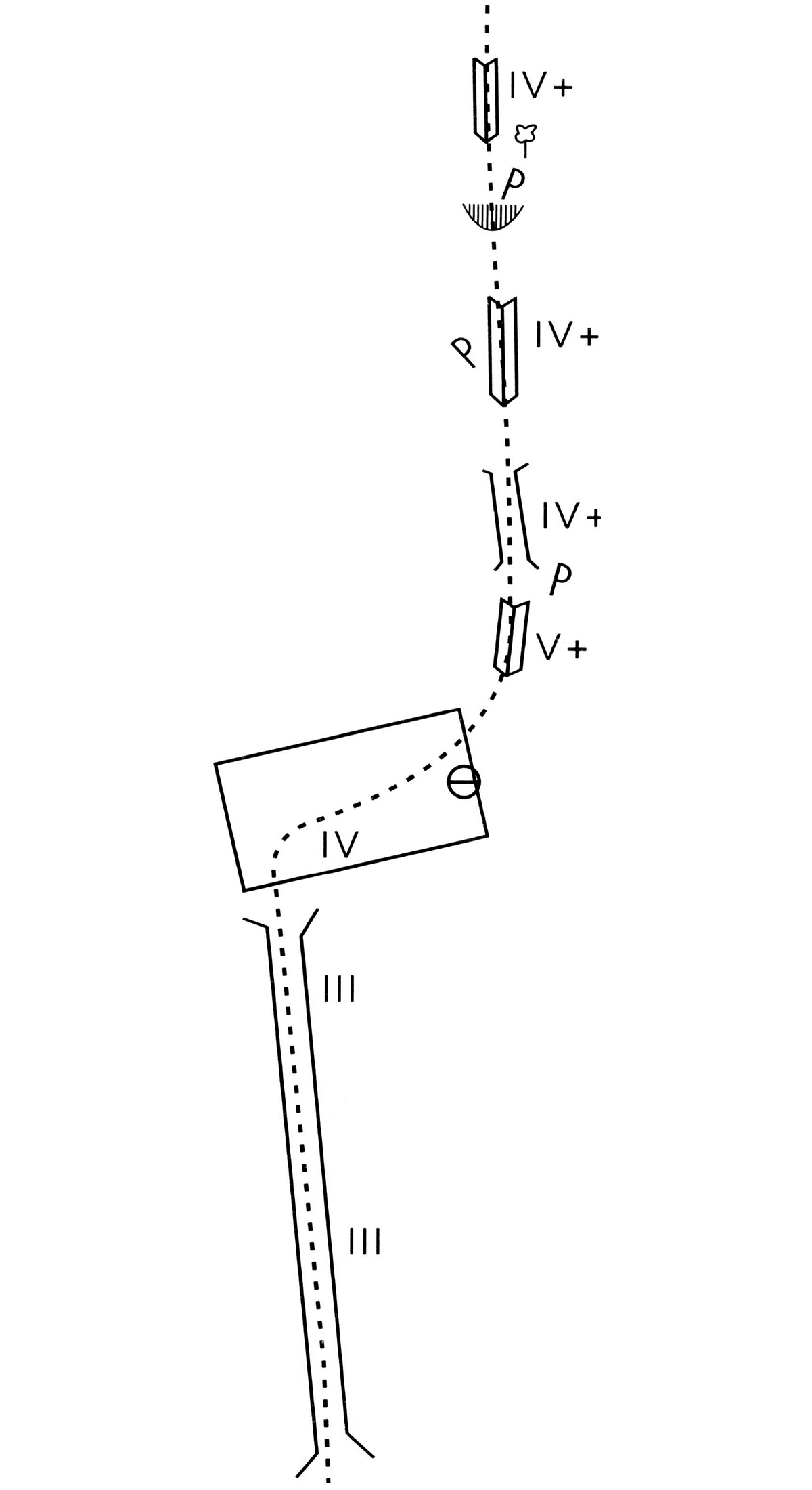
The first ascent of the route “Matthew” (V+, 70m) was realized on 28/6/1987 by A. Tsilogeorgis - D. Liatis - Th. Papapostolou.
Irakleitsa - Remvi
Matthew
Source: A. Tsilogeorgis
Photographs:
Translation: Routes.gr
Editing: Routes.gr
Published: 2018-05-10
Modified: 2026-02-04
