Βαράσοβα - Κρυονέρι - Δ. Ορθοπλαγιά

Rubicon

Rock, Traditional

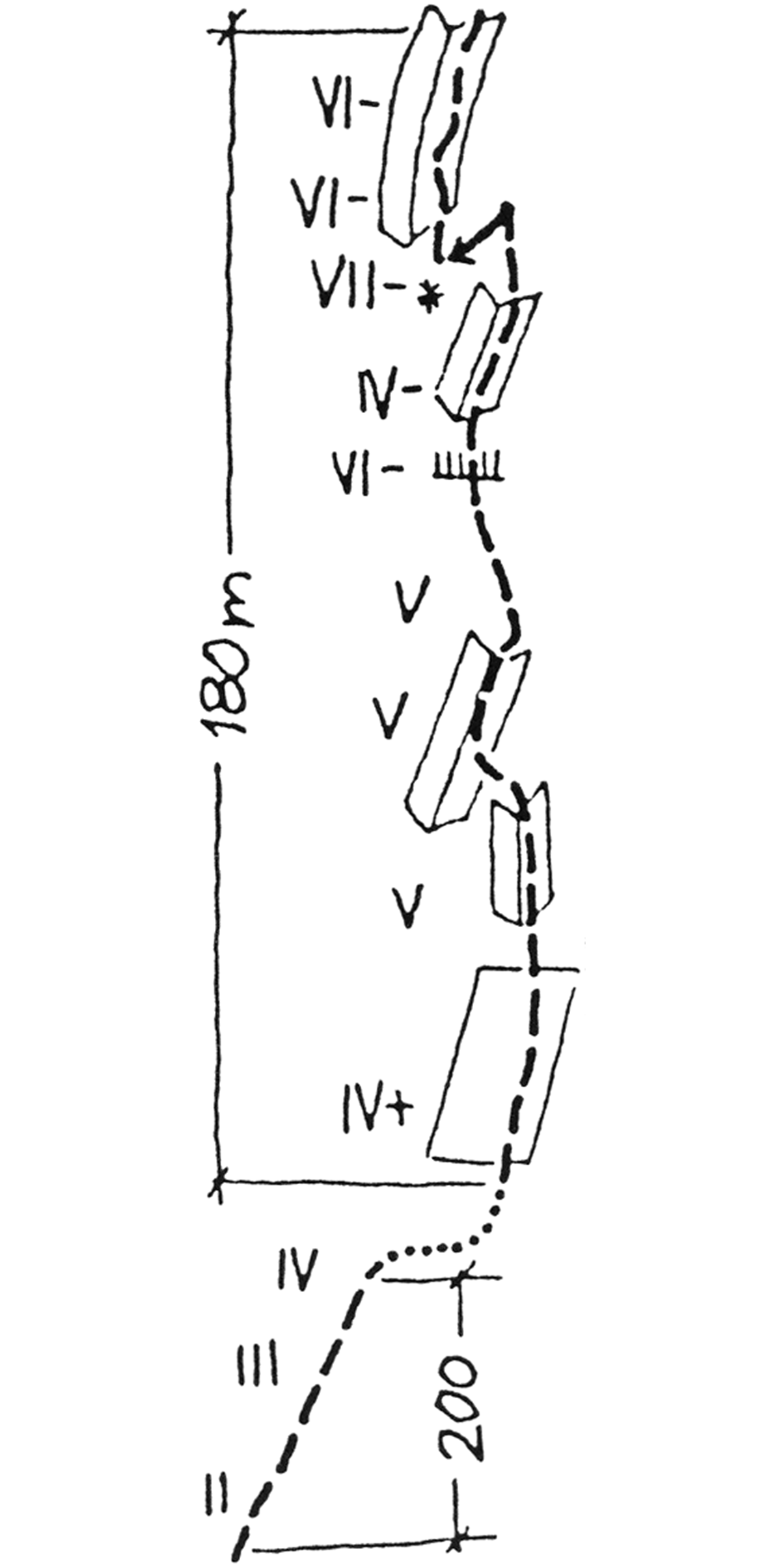
Η Rubicon (VII-, 420μ) ανοίχτηκε στις 17/3/1978 από τους E. Mailander - N. Mailander - E. Weiss.

Η γραμμή αποτελείται από δυο τμήματα, το κάτω (III, 150μ) που κινείται κυρίως πάνω σε κόψη και οδηγεί στο μεγάλο διάζωμα της ορθοπλαγιάς και το πάνω (VII-, 270) το οποίο ακολουθεί κυρίως δίεδρα, οδηγώντας στην κορυφογραμμή.

Πρόκειται για μια πολύ όμορφη διαδρομή που τα έχει όλα, αλλά αυτό που κυριαρχεί είναι το δίεδρο. Δεν παρουσιάζει ιδιαίτερη δυσκολία στην ασφάλιση, χωρίς αυτό να μειώνει τη σοβαρότητα της διαδρομής, μιας και η δυσκολία είναι συνεχόμενη. Στο πάνω τμήμα, προσοχή χρειάζονται τα χόρτα στην 3η και 4η σχοινιά και κάποια σαθρά στην 6η σχοινιά. Η 6η και η 7η σχοινιά μπορούν να ενωθούν σε μια με μήκος 50μ, αλλά χρειάζεται ιδιαίτερη προσοχή στα σχοινιά.

Χρήσιμα υλικά για την επανάληψή της είναι μια σειρά καρύδια (και ψείρες), μια σειρά friends έως το 3.5, καρύδες (1 μικρή - 1 μεγάλη), πολλοί ιμάντες και πολλά σετάκια ή καραμπίνερς.

Η πρόσβαση από την παραλία μέχρι την βάση της κόψης της «Rubicon» γίνεται σε 45λ μέσω του δυτικού μονοπατιού που οδηγεί στην κορυφή.

Η επιστροφή, μετά την ολοκλήρωση της διαδρομής, μπορεί να γίνει με δυο τρόπους. Ο πρώτος τρόπος είναι 5λ περπάτημα πάνω στην κορυφογραμμή μέχρι το πηγάδι με τις βελανιδιές, από όπου σηματοδοτημένο μονοπάτι οδηγεί από την ανατολική πλευρά του βουνού στο δρόμο που πηγαίνει στην Άνω Βασιλική. Αυτή η λύση θεωρείται η πιο εύκολη, αλλά απαιτεί μεταφορικό μέσο για επιστροφή πίσω στο Κρυονέρι. Ο δεύτερος τρόπος είναι πάλι 5λ περπάτημα πάνω στην κορυφογραμμή μέχρι το πηγάδι με τις βελανιδιές, από όπου άλλο μονοπάτι οδηγεί σε 2h από την δυτική πλευρά του βουνού στο Κρυονέρι, περνώντας από το σημείο εκκίνησης στη βάση της κόψης της «Rubicon».

Το πάνω τμήμα της διαδρομής.

Παλιό σκίτσο του Δ. Κορρέ.

Πηγή: Ανάβαση τ. 13, Ανεβαίνοντας τ. 14
Φωτογραφίες:
Μετάφραση:
Επιμέλεια: Δ. Μαυρόπουλος
Δημοσίευση: 2003-05-01
Τροποποίηση: 2025-12-15
Περιοχή: Βαράσοβα
Τοποθεσία: Κρυονέρι
Πανοραμικό: Δ. Ορθοπλαγιά
Γεωεντοπισμός: