Η «Κλεοπάτρα» (VI+, 185μ) ολοκληρώθηκε και σκαρφαλώθηκε στις 9/10/1988 από τους Γ. Αγιαννιωτάκη - Τ. Κουμουτσάκο.
Η γραμμή βρίσκεται στην περιοχή της «Αφρικάνα» και ξεκινάει ανάμεσα στις διαδρομές «Χαΐτογλου» και «Dalton».
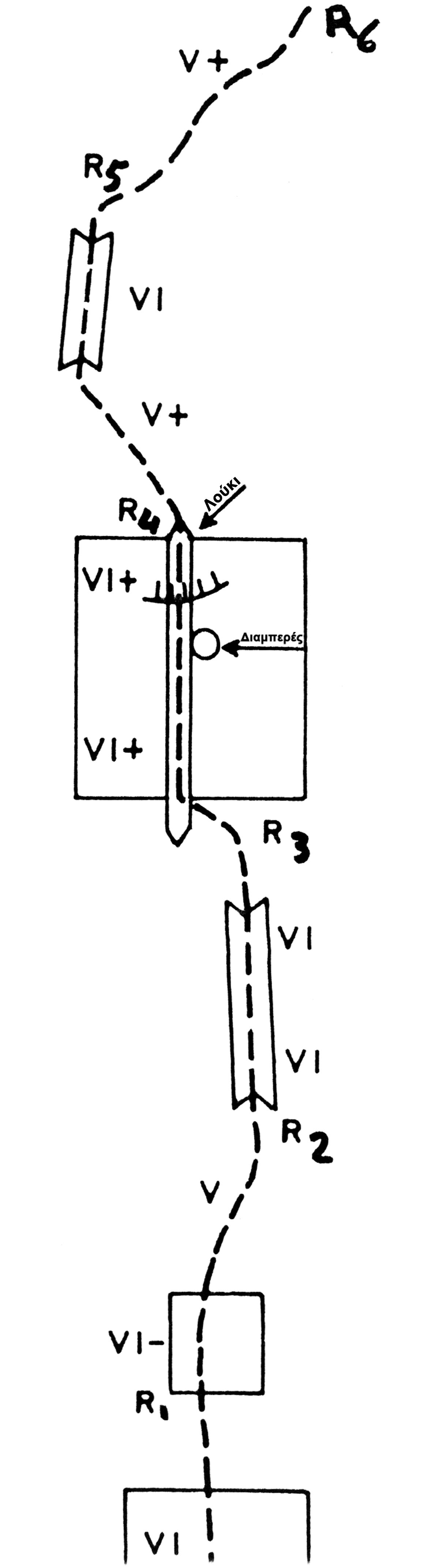
Ιδιαίτερη προσοχή χρειάζεται στο ξεκίνημα της 1ης σχοινιάς όπου τα πρώτα 6μ δεν ασφαλίζονται. Αντίστοιχα στην 4η σχοινιά δεν ασφαλίζονται τα πρώτα 10μ, εκτός από ένα μικρό καρύδι ή friend που μπορεί να μπει 2μ μετά το ρελέ. Επίσης, η 4η σχοινιά δεν διαθέτει εξοπλισμένο ρελέ, αλλά μπορεί να γίνει δεξιά από τη βάση του κόκκινου αρνητικού σε καλό διαμπερές και σε καρύδια (45μ από το R3). Τα ρελέ R1, R2, R3, R5 είναι εξοπλισμένα με διπλούς κρίκους και είναι κατάλληλα για ραπέλ εγκατάλειψης ή επιστροφής. Ραπέλ επιστροφής, με 60άρια σχοινιά, γίνονται από τα R5, R3, R1 (3 ραπέλ).
Απαραίτητα υλικά για την επανάληψή της διαδρομής είναι μια σειρά καρύδια και friends.
Η επιστροφή μετά την ολοκλήρωσή της γίνεται με ραπέλ από την ίδια διαδρομή ή από την «Αφρικάνα».

