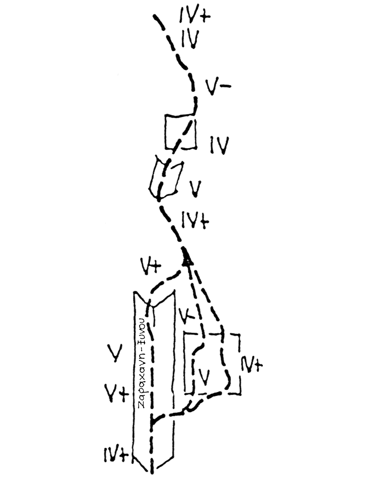
Η διαδρομή «Σκούπα» (V, 220μ) ανοίχτηκε το 1966 από τους Π. Ιδοσίδη - Θ. Ζαχαράνη - Μ. Κότταρη.
Η γραμμή βρίσκεται στην περιοχή της «Αφρικάνα», ανάμεσα στην «Δίεδρο Ζαχαράνη - Ξυνού» με την οποία έχουν κοινή αρχή και την «Αργώ», ενώ στο μεγαλύτερο μέρος της ακολουθεί τον μεγάλο πυλώνα που βρίσκεται πάνω από τις πηγές του ρυακιού.
Αν και πρόκειται για μια διαδρομή χαμηλής δυσκολίας, η απουσία μόνιμων ασφαλειών απαιτούν από τον αναρριχητή ικανότητες εύρεσης δρομολογίου και σωστή χρήση φυσικών ασφαλειών. Έτσι, θα μπορούσε να αποτελέσει μια πρόκληση για νέους αναρριχητές που θέλουν να δοκιμάσουν τις δυνάμεις τους στο παραδοσιακό στυλ αναρρίχησης. Η ποιότητα βράχου είναι αρκετά καλή, σχεδόν σε όλο το μήκος της διαδρομής. Απαραίτητα υλικά για την επανάληψή της είναι μια σειρά καρύδα, μια σειρά friends και αρκετοί ιμάντες. Ενδιάμεσα υπάρχουν 3 - 4 παλιά καρφιά.
Η 1η σχοινιά αρχίζει από δίεδρο (IV+) και μετά από λίγα μέτρα οδηγεί σε πατάρι στα δεξιά. Το δίεδρο αυτό είναι κοινό με το «Δίεδρο Ζαχαράνη - Ξυνού». Μετά το πατάρι συνεχίζει δεξιά κάτω και μετά ανεβαίνει σχισμή (V, 1 καρφί) που οδηγεί σε εύκολα βράχια. Το ρελέ γίνεται σε άνετο επικλινές πατάρι. Η σχοινιά αυτή καλό είναι να σπάσει σε δύο γιατί οι τριβές είναι πολλές.
Η 2η σχοινιά φεύγει δεξιά από το μεγάλο δένδρο που βρίσκεται πάνω από το ρελέ και συνεχίζει ευθεία επάνω (IV). Χρειάζεται ιδιαίτερη προσοχή στα μεγάλα σαθρά κομμάτια που απαιτούν λεπτές κινήσεις. Με κατεύθυνση πάνω και δεξιά οδηγεί σε άνετο πατάρι, όπου γίνεται το ρελέ σε παλιό καρφί και σε φυσικές ασφάλειες.
Η 3η σχοινιά φεύγει αρχικά προς τα πάνω και μετά τραβερσάρει εύκολα (III) αριστερά μέχρι ένα δίεδρο. Το δίεδρο αυτό (IV+) οδηγεί σε μικρό πατάρι όπου γίνεται το ρελέ. Για το ρελέ χρειάζονται μικρά και μεσαία καρύδια και καλή γνώση τοποθέτησης φυσικών ασφαλειών.
Η 4η σχοινιά φεύγει λίγα μέτρα δεξιά (V-, 1 καρφί σε άβολη - χαμηλή θέση) και κατόπιν επάνω (IV) ακολουθώντας πολύ γερά εύκολα βράχια, μέχρι το ρελέ που γίνεται σε άνετο πατάρι.
Η 5η σχοινιά κινείται προς μια ελαφρά αρνητική ζώνη βράχων (V-) την οποία ξεπερνά και μετά, από εύκολα βράχια, οδηγεί σε μεγάλο πατάρι με δένδρα όπου γίνεται το ρελέ.
Η 6η σχοινιά ακολουθεί το δίεδρο (IV-) πάνω από τα δένδρα, σε πολύ γερό αλλά κοφτερό βράχο εύκολο. Η αρνητική έξοδος από το δίεδρο (V), οδηγεί σε άνετο πατάρι με καρφί και διαμπερές για το ρελέ.
Η 7η σχοινιά φεύγει ευθεία επάνω σε σχισμή (V-) και στη συνέχεια από βράχια που γίνονται όλο και πιο εύκολα οδηγεί σε μεγάλο πατάρι όπου και τελειώνει η διαδρομή.
Η διαδρομή βγαίνει στο μεγάλο διάζωμα της ορθοπλαγιάς και από εκεί η επιστροφή γίνεται από το σημαδεμένο μονοπάτι προς τα δεξιά που οδηγεί στα ραπέλ του «Πύργου» και της «Kalidonische».

