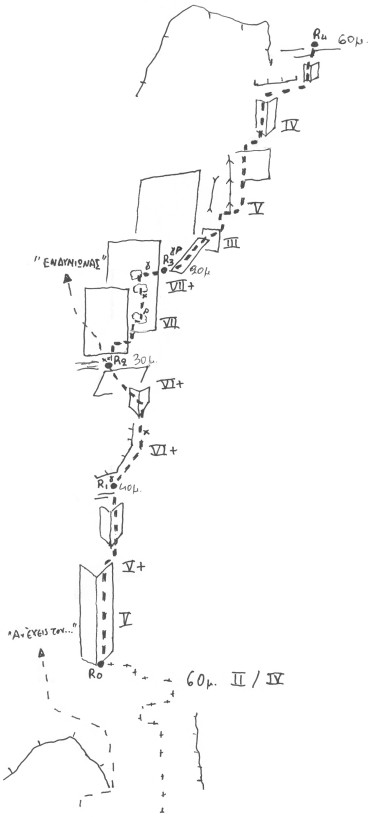
Η «Αποπίσω» (VII+, 210μ) ανοίχτηκε στις 4/9/2004 από τους Γ. Βουτυρόπουλο - Σ. Καράμπαμπα.
Η γραμμή κινείται δεξιά από την «Αν έχεις το Θεό σου».
Τα πρώτα 60μ ακολουθούν εύκολο πεδίο με ένα μόνο σύντομο πέρασμα (IV). Πιο ψηλά υπάρχει άνετο πατάρι αριστερά από δίεδρο, στην βάση του οποίου γίνεται ρελέ με καρύδια και friends.
Η 1η σχοινιά ακολουθεί τη δεξιά σχισμή του δίεδρου (V+) καταλήγοντας στη βάση σχισμής, όπου υπάρχει ιμάντας για το ρελέ.
Η 2η σχοινιά ακολουθεί σχισμοδίεδρο (VI+) με μια πλακέτα στη μέση. Λίγο πριν σβήσει το δίεδρο, η σχοινιά φεύγει αριστερά σε πλάκα για να συναντήσει το ρελέ του «Ενδυμίωνα».
Η 3η σχοινιά φεύγει επάνω και δεξιά, πίσω από μπλοκ, όπου υπάρχει καρφί και από εκεί ακολουθεί τοίχο με τρύπες για 3μ, όπου υπάρχει βύσμα. Μετά από 2μ υπάρχει ιμάντας σε διαμπερές και ακολουθεί δύσκολη δεξιά τραβέρσα (VII+) με κατεύθυνση μια ράμπα, στην βάση της οποίας γίνεται το ρελέ σε καρφί και διαμπερές.
Η 4η σχοινιά συνεχίζει στη ράμπα, μετά φεύγει δεξιά αποφεύγοντας σχισμή και μετά ευθεία πάνω μέχρι την κορυφή του πύργου.
Στο 1ο ρελέ, εκτός από τον ιμάντα υπάρχει και ένα σφηνωμένο καρύδι. Στην 3η σχοινιά, πάνω από το βύσμα, υπάρχουν δυο σφηνωμένα καρύδια, ενώ στην ίδια σχοινιά, στην τραβέρσα μετά από το διαμπερές με τον ιμάντα, υπάρχει ένα σφηνωμένο καρύδι λίγο πριν το 3ο ρελέ.
Απαραίτητα υλικά για την επανάληψη της διαδρομής είναι μια σειρά καρύδια, μια σειρά friends και ιμάντες.
Η επιστροφή μπορεί να γίνει μόνο από την κορυφή με εύκολη κατάβαση ή με ραπέλ από τον «Ενδυμίωνα».
